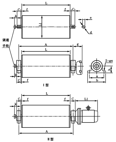
YDJD型調(diào)速電動滾筒簡介
調(diào) 速電動滾筒集油浸式電機、環(huán)錐行星機械無級變速器、齒輪減速器和傳動滾筒于一體的新型驅(qū)動裝置,具有結(jié)構(gòu)緊湊、運行平穩(wěn),調(diào)速范圍大、恒功率輸出、噪音 低、密封性好、外形美觀等特點,能滿足需要變速的工況下使用。YDJD型調(diào)速電動滾筒的調(diào)速系手動無級機械調(diào)速。因此性能穩(wěn)定,使用可靠。
|
D(mm)
|
P(kw)
|
公稱調(diào)速比
|
小筒長
L(mm)
|
L1(II型)(mm)
|
|||||||||
|
0.04
|
0.05
|
0.06
|
0.08
|
0.10
|
0.13
|
0.16
|
0.20
|
I型
|
II型
|
||||
|
Ø174
|
0.55
|
*
|
|
*
|
*
|
*
|
|
|
|
8
|
600
|
450
|
300
|
|
Ø216
|
0.75/1.1
|
|
*
|
|
*
|
*
|
*
|
|
|
600
|
450
|
300/320
|
|
|
Ø240
|
0.75/1.1
|
|
|
*
|
*
|
*
|
*
|
|
|
600
|
450
|
300/320
|
|
|
1.5/2.2
|
|
|
*
|
*
|
*
|
*
|
|
|
700
|
500
|
350/400
|
||
|
Ø320
|
1.5/2.2
|
|
|
|
*
|
*
|
*
|
*
|
|
700
|
500
|
350/400
|
|
|
3/4
|
|
|
|
*
|
*
|
*
|
*
|
|
800
|
550
|
400/420
|
||
|
Ø400
|
1.5/2.2
|
|
|
|
|
*
|
*
|
*
|
*
|
700
|
500
|
350/400
|
|
|
3/4
|
|
|
|
|
*
|
*
|
*
|
*
|
800
|
550
|
400/420
|
||

|
D(mm)
|
a
|
b
|
c
|
d
|
e
|
f
|
g
|
h
|
s
|
k
|
|
Ø174
|
120
|
160
|
60
|
32
|
25
|
5
|
125
|
50
|
15
|
35
|
|
Ø216
|
38
|
30
|
||||||||
|
Ø240
|
||||||||||
|
Ø320
|
210
|
260
|
42
|
35
|
10
|
95
|
19
|
|||
|
Ø400
|